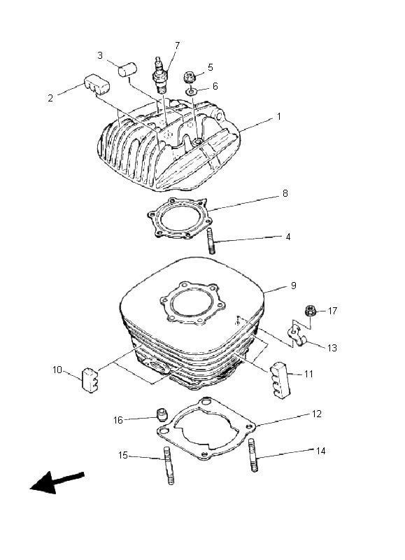
Gasket Cilinderkop Origineel Yamaha (Nummer 8)

€ 27,95

Gasket Cilinderkop

 

Yamaha blaster 1988-2007

 

2XJ-11181-00-00  (Let op nummer 8 afbeelding)

 

Aantal nodig 1

 

Levertijd 1-3 Weken